苹果 Vision Pro 头显新专利获批:Light Seal 内嵌触控传感器,带来更丰富交互方式 |
|
珠江路在线
2024年3月26日
【
转载
】传世3官网论坛
|
|
本文标签:苹果,传感器,专利 |
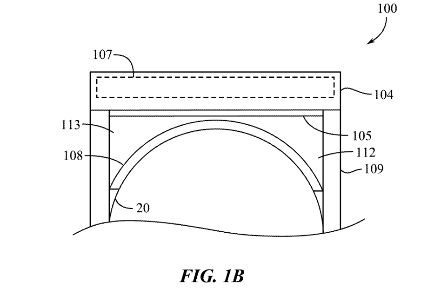
3 月 26 日 信息,依据美国商标和专利局(USPTO)近日公示的清单,苹果公司 获得了一项对于 Vision Pro 头显的技术专利,暗示苹果 方案 将来在 Light Seal 中嵌入触控传感器,从而为佩戴者提供更 丰盛的交互体验 。

苹果现有 Light Seal 由柔软的纺织品制成,有各种 形态和尺寸,可 蜿蜒以贴合消费者的脸部,该配件有助于阻挡外部光线, 加强头显的沉醉式体验 。
IT之家此前报导,苹果公司此前的专利中,就考量在 Light Seal 中嵌入各种传感器,测量佩戴者体温、汗液、心率、心脏电信号(如心电图、心电图等)、额叶 运动等指标,从而进一步 综合佩戴者的 反响或者 参加度 。
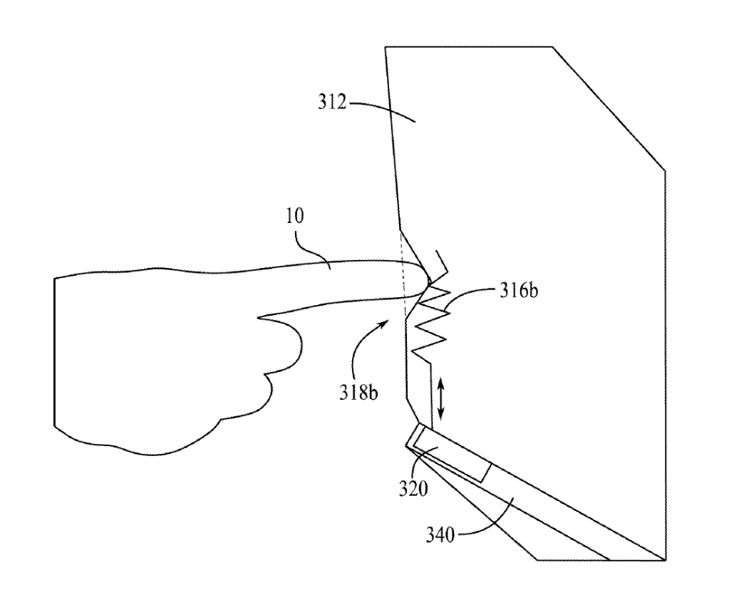
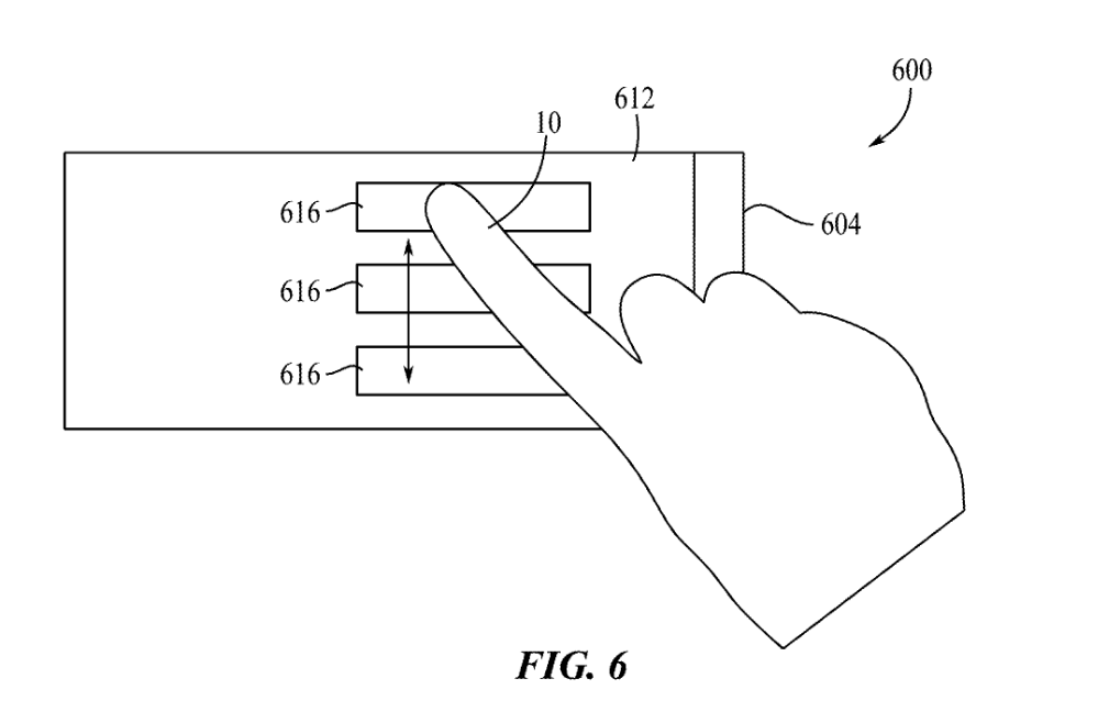
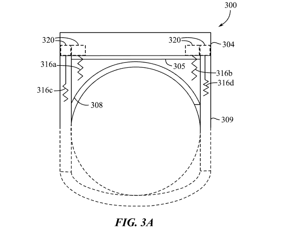
而在最新专利中,苹果构想将 Light Seal 设计成超大触控交互区域,在专利的一个示例中改用导电织物,内置传感器 能够 鉴别佩戴者的交互手势 。






将来 Vision Pro 头显内置计算 设施 能够收集、 综合佩戴者的触控手势,例如消费者 能够旋转、上下滑动等等,头显从而做出相应的交互 。